Stellantis Secures Patent for Angled Truck Bed Cap
Stellantis Secures Patent for Angled Truck Bed Cap

Stellantis Secures Patent for Angled Truck Bed Cap

December 29, 2025

Overview

Stellantis has quietly expanded its intellectual property portfolio with the approval of a new patent that could have meaningful implications for the future of pickup truck design. Granted by the United States Patent and Trademark Office, the patent covers an angled truck bed cap that focuses on improving aerodynamics without sacrificing the everyday utility that truck owners depend on.

1549575780372 36469059 1659853567417718 7434113005215809536 o

While patents do not always translate directly into production models, this particular concept stands out for its practicality. Rather than introducing a radical redesign or a purely conceptual feature, Stellantis appears to be addressing a long standing challenge in pickup engineering with a solution that respects how trucks are actually used.

Rethinking Pickup Truck Aerodynamics

Pickup trucks have historically struggled with aerodynamic efficiency, largely due to the turbulence created by an open cargo bed. At highway speeds, airflow becomes disrupted as it moves over the cab and into the bed, increasing drag and reducing efficiency. Over the years, manufacturers and aftermarket companies have attempted to solve this with angled bed caps and sloped tonneau covers, but these solutions often come with compromises such as reduced cargo height or inconvenient hardware removal.

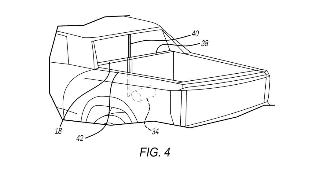
Stellantis’ patented design approaches the problem differently by integrating aerodynamic components directly into the truck bed. Instead of relying on fixed external add ons, the system uses concealed panels built into the sidewalls of the bed itself. When not in use, these panels remain fully retracted, preserving the original bed dimensions and maintaining full cargo capacity.

A Smart and Adaptable Design

In normal driving conditions, the bed cover functions like a traditional flat tonneau, protecting cargo without altering the truck’s shape. When improved aerodynamics are desired, such as during highway driving, the system can be activated to change the profile of the bed cover.

Angled Bed Cap For A Truck Patent. USPTO. 4 2048x1152

The concealed side panels rise from within the bed walls and support the cover as it tilts upward into an angled position. A front support panel near the cab works in conjunction with the side panels to create a smooth, sloped surface that allows air to flow more efficiently from the roof and across the bed. According to the patent documentation, the system can be operated either manually or through actuators, similar to other adjustable components already found in modern vehicles.

Angled Bed Cap For A Truck Patent. USPTO. 2 1024x576

Importantly, the entire mechanism is designed to function within the existing structure of the truck bed. This means there is no intrusion into the usable cargo area, preserving the truck’s ability to haul equipment, materials, or recreational gear without limitation.

Preserving Real Truck Utility

One of the most notable aspects of the patent is its focus on what remains unchanged. The system does not block access to the bed, interfere with loading, or require parts to be removed when hauling larger items. Tailgate operation remains fully functional whether the panels are raised or retracted, a detail that is often overlooked in aerodynamic concepts but is critical for real world truck use.

Angled Bed Cap For A Truck Patent. USPTO. 1 1024x576

The patent also mentions the possibility of integrating a retractable or hinged spoiler into the bed cover itself. When the cover is raised into its angled position, the spoiler can deploy to further refine airflow. When not needed, it folds flat and stays hidden, maintaining a clean and practical design.

Why This Patent Matters

Aerodynamics are becoming increasingly important across the automotive industry. For electric trucks, reduced drag can directly translate into extended driving range. For hybrid and internal combustion models, aerodynamic improvements help manufacturers meet emissions regulations while preserving performance and capability.

Angled Bed Cap For A Truck Patent. USPTO. 3 1024x576

What makes this patent particularly compelling is its balanced approach. Rather than asking truck owners to compromise on functionality, Stellantis appears to have developed a solution that adds efficiency only when it is beneficial and remains invisible when it is not. The design reflects a clear understanding of how modern trucks are used, balancing work responsibilities, daily driving, and long distance trave

Final Thoughts

Stellantis’ angled truck bed cap patent highlights a thoughtful approach to innovation in the pickup segment. By focusing on adaptability and preserving core truck utility, the concept demonstrates how efficiency focused engineering can coexist with real world practicality. While it remains to be seen whether this design will reach production, it offers a glimpse into how future trucks may quietly become more efficient without losing what makes them trucks in the first place.

Categories

Recent Posts

About us

Automax®, established on December 15, 1997, in Little Rock, Arkansas, is a multi-award-winning car dealership renowned for supplying brand-new vehicles to both the MENA region and global markets. With 28 years of experience, over 63,000 cars sold, and 7 showrooms, we are a trusted leader in the automotive industry. Our mission is to offer competitive prices on the latest models from top American and German brands – Stellantis, GM, Ford, Mercedes, BMW, and Audi. Automax® is committed to transparency, affordability, and integrity, delivering a seamless, trustworthy car-buying experience worldwide.

FEATURED VEHICLE

Featured
2024 Abarth 695 Turismo
31
2024 Abarth 695 Turismo
$ 29,000
2024
GCC
1.4T
180HP
Racing Orange
Featured
2026 GAC GS8 GX
45
2026 GAC GS8 GX
$ 36,500
2026
GCC
2.0T
248HP
Elegant Black
Featured
2026 GAC GS3 EMZOOM GB "Blue Interior"
30
2026 GAC GS3 EMZOOM GB "Blue Interior"
$ 17,000
2026
GCC
1.5T
174HP
Moon Grey
Featured
2026 Mercedes-Benz CLA 200 AMG Coupe
43
2026 Mercedes-Benz CLA 200 AMG Coupe
$ 47,500
2026
GCC
1.4T
163HP
Alpine Gray
Automax®, The Boutique Of Muscle Cars, Truck Fanatics & Jeep Lovers

Follow Us On

© 2026 Automax®. All rights reserved.